武汉兴华尚都国际售楼处电话→武汉兴华尚都国际24小时电话→武汉兴华尚都国际2025最新房价→武汉兴华尚都国际楼盘百科详情
扫描到手机,新闻随时看
扫一扫,用手机看文章
更加方便分享给朋友
🌈武汉兴华尚都国际售楼处电话☎️400-8787-098转接4444(专人接听)
🌈武汉兴华尚都国际营销中心电话:☎️400-8787-098转4444【营销中心】
🌈温馨提示:拨打400电话,听到嘀声后,输入分机号4444即可!
房源情况:
一期、二期、三期均有在售
均为毛坯现房
兴华尚都国际是硚口区汉西村城中村改造开发的一部分,共包含K1、K2两个地块,分为5期开发。目前一期尾盘现房、二期及三期现房在售,四期、五期都尚未开盘。主推二期和三期。目前已推出的一期二期和三期之间都是联通管理的,实际是一个小区。
项目二期规划6栋27-45层住宅,所有房源均已推出,目前主推5、7、8号楼,是现房;项目三期仅一栋住宅即9号楼,也是现房。
🌈武汉兴华尚都国际售楼处电话☎️400-8787-098转接4444(专人接听)
🌈武汉兴华尚都国际营销中心电话:☎️400-8787-098转4444【营销中心】
从具体的备案数据来看,截止到2025年9月15日,兴华尚都国际一期还剩余72套未备案,一期几乎是尾盘了,当然去化也很慢;二期已备案611套,剩余220套未备案;三期已备案106套,还有62套没有备案。

二期备案信息:


三期备案信息:


从楼栋备案情况来看,二期1、3、6号楼基本已售完,5号楼剩余少量中间户房源,较后推出的二期7、8号楼及三期9号楼还有较多房源没有备案。

🌈武汉兴华尚都国际售楼处电话☎️400-8787-098转接4444(专人接听)
🌈武汉兴华尚都国际营销中心电话:☎️400-8787-098转4444【营销中心】
目前项目主推楼栋就是二期5、7、8号楼及三期9号楼。
7号共44层,1个单元,2梯2户;5号楼44层,1个单元;8号楼45层,1个单元,2梯3户,包含建面约105-247平房源;
三期9号楼共45层,1个单元,2梯4户,共包含建面约109-143平房源。
三期9号楼户型分布图:

🌈武汉兴华尚都国际售楼处电话☎️400-8787-098转接4444(专人接听)
🌈武汉兴华尚都国际营销中心电话:☎️400-8787-098转4444【营销中心】
建面约131平户型三房两卫:9号楼边户,南北通透,两开间朝南,南北双阳台。传统三代边户,且在三代边户中也不算优质。

建面约142平户型四房两卫:9号楼边户,南北通透、三开间朝南且三面采光,属于三代户型中还不错的。

建面约109平户型三房两卫:连廊中间户,三开间朝南,北边对连廊。

🌈武汉兴华尚都国际售楼处电话☎️400-8787-098转接4444(专人接听)
🌈武汉兴华尚都国际营销中心电话:☎️400-8787-098转4444【营销中心】
二期户型分布示意图:

建面约123平户型三房两卫:5号楼中间户,全朝南,不通透,算是不太理想的户型。

建面约204平户型四房两卫:7号楼边户,3.5开间朝南,南北通透,户型方正,南向大阳台,结构比较常规,在同等面积中算是没有太多想象力的户型。

建面约123平户型三房两卫:8号楼中间户,3.5开间朝南,纯南不通透。

建面约161平户型四房两卫:8号楼的边户,三开间朝南,南北通透,南北双阳台。

🌈武汉兴华尚都国际售楼处电话☎️400-8787-098转接4444(专人接听)
🌈武汉兴华尚都国际营销中心电话:☎️400-8787-098转4444【营销中心】
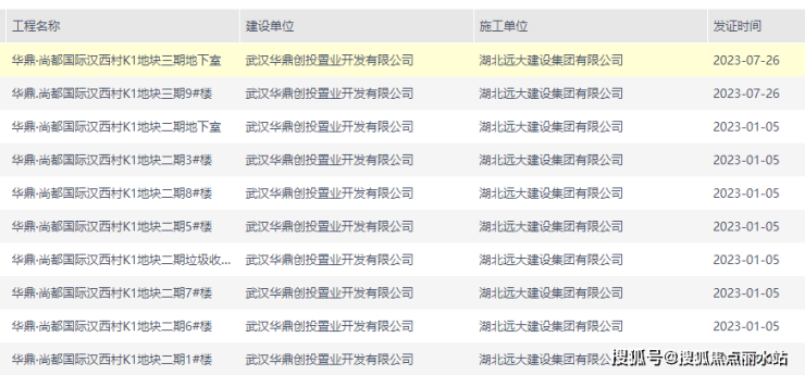
二期和三期竣工备案情况截图:

二期实景图:
🌈武汉兴华尚都国际售楼处电话☎️400-8787-098转接4444(专人接听)
🌈武汉兴华尚都国际营销中心电话:☎️400-8787-098转4444【营销中心】
此外,项目后期还有四期和五期尚未开发,两个地块都已经报规了。
四期共约350套房源,商品房约310套,入市时间待定。
四期地块共包含3栋住宅,其中1、2号楼为32层的商品房、3号楼为6层的租赁型住房,暂未入市。
🌈武汉兴华尚都国际售楼处电话☎️400-8787-098转接4444(专人接听)
🌈武汉兴华尚都国际营销中心电话:☎️400-8787-098转4444【营销中心】
五期规划3栋住宅,约494套房源,入市时间待定。
兴华尚都国际五期规划有3栋27-45层不等的高层、超高层住宅,1栋24层的酒店商业、1栋24层的办公楼、1栋4层的商业,暂未入市。
鸟瞰效果图:

项目四期和五期都比较早的报规了,那个时候四代住宅标准还没出,报规时是按照三代的规划水平设计的,如果没有动工,后期还有改规划的可能。
🌈武汉兴华尚都国际售楼处电话☎️400-8787-098转接4444(专人接听)
🌈武汉兴华尚都国际营销中心电话:☎️400-8787-098转4444【营销中心】
🌈温馨提示:拨打400电话,听到嘀声后,输入分机号4444即可!
声明:本文由入驻焦点开放平台的作者撰写,除焦点官方账号外,观点仅代表作者本人,不代表焦点立场。
